聯系人:王經理
銷售電話:15610293837
銷售QQ:2962700085
公司地址:山東省濰坊高新區新城街道玉清社區光電路155號濰坊高新區光電產業加速器(一期)1號樓301

PRODUCT CENTER
聯系人:王經理
銷售電話:15610293837
銷售QQ:2962700085
公司地址:山東省濰坊高新區新城街道玉清社區光電路155號濰坊高新區光電產業加速器(一期)1號樓301
森林氣象站又稱森林防火氣象站,森林火險監測站,森林氣象站用于監測和預測發生森林火災的氣象條件,預防森林大火的發生,在發生大火時及時采取措施來防止和控制林火災的蔓延,使財產損失降到低點。
一、森林氣象站產品簡介
森林氣象站又稱森林防火氣象站,森林火險監測站,森林氣象站用于監測和預測發生森林火災的氣象條件,預防森林大火的發生,在發生大火時及時采取措施來防止和控制林火災的蔓延,使財產損失降到低點。
森林火災是森林生態系統的大敵,它能在很短時間內,燒毀大面積的森林和大量的林副產品,破壞林分結構和森林環境,破壞自然界生態平衡,造成氣候失調,水土流失,河流淤塞,洪水泛濫或水源枯竭。通過監測容易發生森林火災區域的風速風向、空氣的溫度、相對濕度、太陽輻射等氣象因子,可以對預防森林大火的發生,在發生大火時也可以指導工作人員進行快速合理的滅火工作,使財產損失降到低點。
該設備由氣象傳感器,采集器,太陽能供電系統,立桿支架,云平臺五部分組成。免調試,可快速布置,廣泛運用于氣象、農業、林業、環保、海洋、機場、港口、科學考察、校園教育等領域。
二、產品特點
1、低功耗采集器:靜態功耗小于50uA
2、標配GPRS聯網、支持擴展藍牙、有線傳輸
3、7寸安卓觸屏,版本:4.4.2、四核Cortex?-A7,512M/4G
4、支持modbus485傳感器擴展
5、太陽能充電管理MPPT自動功率點跟蹤
6、三米碳鋼支架,兩節法蘭盤對接
7、配備聲光報警器
8、人員靠近設備可聲光喊話報警,可短信/電話云通知
9、ABS材質防護箱,耐腐蝕、抗氧化,防水等級IP66
三、技術參數
名 稱 | 測量范圍 | 分 辨 率 | 準 確 度 |
環境溫度 | -50~+100℃ | 0.1℃ | ±0.5℃ |
相對濕度 | 0~100%RH | 0.1% | ±3% RH |
風 向 | 0~360°(16方向) | 1° | ±5° |
風 速 | 0~60m/s | 0.1m/s | ±(0.3+0.03V)m/s |
雨 量 | ≦4mm/min | 0.2mm | ±0.4mm |
光照強度 | 0-200000Lux | 1Lux | ±2% |
大氣壓力 | 10~1100hPa | 0.1hPa | ±0.3hPa |
土壤溫度 | -50~+80℃ | 0.1℃ | ±0.5℃ |
土壤濕度 | 0~100% | 0.1% | ±3%RH |
二氧化碳 | 0-5000PPM | 1PPM | ±40PPM±讀數的3% |
可以根據用戶需求拓展配置:日照時數、蒸發量傳感器、露點溫度傳感器、紫外線輻射傳感器、光合輻射傳感器等各種氣象要素傳感器。 | |||
供電系統 | 市電/太陽能/多電源供電系統可選 | ||
通訊系統 | RS485、USB、無線GPRS、以太網等通訊方式 | ||
專用支架 | 安裝防護箱、傳感器、供電電源、通訊設備等 | ||
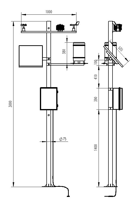
四、產品尺寸圖
五、產品結構圖
六、上位機軟件介紹
1、PC單機版數據接收、存儲、查看、分析軟件
2、支持串口數據接收、處理、展示
3、支持json字符串、modbus485等通信方式
4、可自設置存儲時間,modbus485采集模式下可自設置采集時間
5、支持自助增加、刪除、修改監測參數的協議、名稱、圖標等
6、支持數據后處理功能
7、支持外置運行javascript腳本
七、安卓APP介紹
1、安卓單機版數據接收、存儲、查看、分析軟件
2、支持藍牙數據接收
3、手機休眠后軟件后臺接收、處理
4、json數據自動添加設備,modbus設備支持掃碼添加設備
5、支持歷史數據查看、分析、導出表格,支持曲線展示、單數據點查看。
6、支持數據后處理功能
7、支持外置運行javascript腳本
八、云平臺介紹
1、CS架構軟件平臺,支持手機、PC瀏覽器直接觀測、無需額外安裝軟件。
2、支持多帳號、多設備登錄
3、支持實時數據展示與歷史數據展示儀表板
4、云服務器、云數據存儲,穩定可靠,易于擴展,負載均衡。
5、支持短信報警及閾值設置
6、支持地圖顯示、查看設備信息。
7、支持數據曲線分析
8、支持數據導出表格形式
9、支持數據轉發,HJ-212協議,TCP轉發,http協議等。
10、支持數據后處理功能
11、支持外置運行javascript腳本
針對這一需求,萬象環境為其設計并安裝了WX-FBQ2防爆式氣象站,該氣象站采用了先進的防爆技術和材料,能夠在化工生產環境中安全、穩定地運行。其外殼采用高強度、耐腐蝕的防爆材質,內部電路也經過特殊處理,確保在接觸到易燃易爆氣體或粉塵時不會產生火花或電弧,從而有效避免了安全隱患。···
當暴雨來臨時,WX-LDSW02雨量水位一體站能夠迅速捕捉到雨量的變化,并通過網絡將數據實時傳輸到相關部門。這樣,決策者就能夠根據雨量和水位的變化趨勢,及時做出應對措施,防止洪水災害的發生。具有高度的自動化和智能化特點。它不僅能夠自動采集數據,還能夠對數據進行處理和分析,預測未來一段時間內的雨情和水情。這樣一來,防汛工作就能夠更加精準和高效,大大減少了人力物力的浪費。···
WX-SQ8+ 4G款高精度手持8要素氣象站的高精度測量能力是其核心優勢之一。無論是風速、風向還是其他氣象參數,該氣象站都能提供高精度的測量結果。這得益于其內部采用的精密傳感器和智能芯片,確保了數據的準確性和穩定性。對于需要高精度氣象數據支持的領域,如氣象研究、農業種植等,這款氣象站無疑是一個理想的選擇。···
WX-HS1光伏電站灰塵監測儀就是專門用于監測光伏面板上灰塵積累的儀器。它通過先進的傳感器和算法,能夠實時檢測光伏面板表面的灰塵密度和分布情況,從而為電站運營者提供精準的數據支持。這些數據不僅有助于及時清理灰塵,提高光伏電站的發電效率,還能為電站的維護和管理提供科學依據。···
WX-FLZ40負氧離子監測站外觀設計美觀,采用景觀木亭樣式,不僅外觀好看,內在也是可圈可點,它的數據平臺是一個互聯網架構的網絡化平臺,具有對各子站的監控功能以及對數據的報警處理、記錄、查詢、統計、報表輸出等多種功能。一次性監測負氧離子、pm2.5、pm10、溫度、濕度、氣壓、含氧量、噪音、風速、風向等氣象參數,直觀顯示。···
WX-NY11農業戶外氣象站,顧名思義,是安裝于農田周邊,能夠實時監測并記錄包括溫度、濕度、風速、風向、降雨量、光照強度等多種氣象要素的設備。它們如同農田的“眼睛”,24小時不間斷地觀察著大自然的微妙變化,并將這些數據通過無線傳輸技術實時發送到云端或用戶的手機APP上。這些數據不僅是農業生產決策的重要依據,更是精準農業、智慧農業得以實現的基礎。···